๋ฐ์ํ
(Sanghoo Park)
1
๊น์๋ฏผ
(Sumin Kim)
1
์ด๋ค์
(Daeun Lee)
1
์์์ง
(Soojin Ahn)
1
๊น์์
(Sangshik Kim)
1*
-
๊ฒฝ์๋ํ๊ต ๋๋
ธ์ ์์ฌ์ตํฉ๊ณตํ๊ณผ
(Dept. of Materials Engineering and Convergence Technology, ReCAPT, Gyeongsang National
University, Jinju 52828, Republic of Korea)
Copyright ยฉ 2018 The Korean Institute of Metals and Materials
Key words
Ti-6Al-4V, microstructure, fatigue, fatigue crack propagation, mill-annealing
1. ์ ๋ก
ํ์ดํ๋(titanium, Ti) ํฉ๊ธ์ ๊ณ ๊ฐ์์๋ ๋ถ๊ตฌํ๊ณ ์ฐ์ํ ๋ถ์ ์ ํญ์ฑ๊ณผ ๊ธฐ๊ณ์ ํน์ฑ์ผ๋ก ํญ๊ณต์ฐ์ฃผ ๋ถ์ผ์ ๋๋ฆฌ ์ฌ์ฉ๋๊ณ ์๋ค [1]. ์ต๊ทผ ๋ค์ด ํญ๊ณต๊ธฐ์ ๋ณตํฉ์ฌ๋ฃ์ ์ฌ์ฉ์ด ์ฆ๊ฐํจ์ ๋ฐ๋ผ ๋ณตํฉ์ฌ๋ฃ์์ ๊ฐ๋ฐ๋ ๋ถ์ ๋ฐ ์ดํฝ์ฐฝ๊ณ์ ์ฐจ์ด๊ฐ ์์ ํ์ดํ๋ ํฉ๊ธ์ ์ฌ์ฉ์ด ์ฆ๊ฐํ๋ ์ถ์ธ์
์๋ค [2]. ํ์ดํ๋ ํฉ๊ธ ์ค์์๋ ๊ฐ์ฅ ๋๋ฆฌ ์ฌ์ฉ๋๊ณ ์๋ Ti-6Al-4V(Ti64) ํฉ๊ธ์ ์ผ๋ฐ์ ์ผ๋ก ๊ณต์ฅ(mill)์์ ๋ฒ ํ ๋ณํ(beta transformation)
์จ๋ ์ดํ์์ ์๋(annealing)์ ํ์ฌ ๋ฑ์ถ์ (equiaxed) ์ํ(alpha)์กฐ์ง์ ๊ฐ์ง๋ ๋ฐ์๋(mill-annealed) ์ํ๋ก ๊ฐ์ฅ
๋๋ฆฌ ์ฌ์ฉ๋๋ค [3]. ๋ฒ ํ ๋ณํ ์จ๋ ์ด์์์ ์๋์ ์ค์ํ ๊ฒฝ์ฐ ์นจ์(acicular)์ ์ํ์กฐ์ง์ ๊ฐ์ง๋ฉฐ ์ด๋ฌํ ์กฐ์ง์ ๋ฑ์ถ์ ์ํ์กฐ์ง์ ๋นํด ์ธ์ฅ ๊ฐ๋๋ ๊ณ ์ฃผ๊ธฐํผ๋ก
์ ํญ์ฑ์ ๊ฐ์ํ๋ ํผ๋ก๊ท ์ด์ ํ ์ ํญ์ฑ๊ณผ ํ๊ดด์ธ์ฑ๊ณผ ๊ฐ์ ์์ํ์ฉ ํน์ฑ์ ์ฆ๊ฐํ๋ ๊ฒ์ผ๋ก ์๋ ค์ ธ ์๋ค [4,5]. ํผ๋ก๊ท ์ด์ ํ ์ ํญ์ฑ ์ฆ๊ฐ์ ์์ธ์ ์นจ์์ ์ํ์๋ค์ด ๊ท ์ด์ง์ ์์ ์ฃผ ๊ท ์ด์์ ์ฌ๋ฌ ๊ฐ๋์ ๊ท ์ด๋ก ๋ถ๊ธฐ(bifurcation)๋๋ฉด์ ์ ํจ์๋ ฅํ๋๊ณ์์์ญ(effective
stress intensity factor range)์ ๊ฐ์์ํค๊ธฐ ๋๋ฌธ์ธ ๊ฒ์ผ๋ก ๋ณด๊ณ ๋์ด ์๋ค [4,6-8]. ์ด์ฒ๋ผ ์นจ์์กฐ์ง๊ณผ ๋ฑ์ถ์ ์กฐ์ง์ ์ธ์ฅ ๋ฐ ํผ๋ก ๊ฑฐ๋์ ์ฐจ์ด๋ฅผ ๋ณด๊ณ ํ ์ฐ๊ตฌ ๊ฒฐ๊ณผ๋ค์ ์ผ๋ฐ์ ์ผ๋ก ์ ์ผ์นํ๋ ๊ฒฝํฅ์ด ์๋ค. ํํธ ๋ฒ ํ ๋ณํ ์จ๋ ๋ฏธ๋ง์
์๋์ ์ผ๋ก ๋์ ์จ๋์์ ๋ฐ์๋ํ ๊ฒฝ์ฐ์๋ ๋ฑ์ถ์ ์ํ์ ์นจ์์ ์ํ์กฐ์ง์ด ํผํฉ๋ ํผํฉ์กฐ์ง(bi-modal)์ ๊ฐ์ง๋ฉฐ, ์ผ๋ฐ์ ์ผ๋ก ๊ธฐ๊ณ์ ํน์ฑ์ ๋ฑ์ถ์
์ํ์กฐ์ง๊ณผ ์นจ์ ์ํ์กฐ์ง์ ์ค๊ฐ์ธ ๊ฒ์ผ๋ก ์๋ ค์ ธ ์๋ค [3]. ๊ณ ์ฃผ๊ธฐํผ๋ก ์ ํญ์ฑ์ ๊ฒฝ์ฐ ์ฌ๋ฌ ์ฐ๊ตฌ์๋ค์ด ํผํฉ์กฐ์ง์ ๋นํด ๋ฑ์ถ์ ์กฐ์ง์ ๊ฐ์ง๋ Ti64 ํฉ๊ธ์ด ์ฐ์ํ ๊ฒ์ผ๋ก ๋ณด๊ณ ํ๊ณ ์๋ค [9,10]. ๊ทธ๋ฌ๋ ๋ฑ์ถ์ ์กฐ์ง์ ๋นํด ํผํฉ์กฐ์ง์ ๊ณ ์ฃผ๊ธฐํผ๋ก ์ ํญ์ฑ์ด ์ฐ์ํ ๊ฒฝ์ฐ๋ Ivanova[11]๋ Peters [12] ๋ฑ ์ฌ๋ฌ ์ฐ๊ตฌ์์ ์ํด ๋ณด๊ณ ๋๊ณ ์๋ค.
์ง๊ธ๊น์ง ์ดํด๋ณธ ๋ฐ์ ๊ฐ์ด ๋ฑ์ถ์ ์ด๋ ํผํฉ์กฐ์ง์ ๊ฒฝ์ฐ ์์ ํํ๋ฟ๋ง ์๋๋ผ ์ํ์์ ํฌ๊ธฐ, ๋๊ฐ ์๋์ ๋ฐ๋ฅธ ๊ฐ ์์ ๋ฏธ์ธํ ์ ๋, ๋๊ฐ ๊ฐ๊ณต์ ์ ๋
๋ฑ์ ๋ฐ๋ผ ๋ฐ์๋๋ Ti64 ํฉ๊ธ์ ์ธ์ฅ๋ฟ๋ง ์๋๋ผ ํผ๋กํน์ฑ์ด ๋ณํํ ์ ์๋ค [9]. ์ด์ฒ๋ผ ๋ฑ์ถ์ ์ด๋ ํผํฉ์กฐ์ง์ ๊ฐ์ง๋ ๋ฐ์๋๋ Ti64 ํฉ๊ธ์ ๊ฒฝ์ฐ, ๋ฏธ์ธ์กฐ์ง์ ํํ ๋ง์ผ๋ก๋ ๋ค์ํ ๊ธฐ๊ณ์ ๊ฑฐ๋์ด ์ค๋ช
๋์ง ์๊ณ ์์ผ๋ฉฐ, ์ด์
๋ํ ์์ธ๋ ๋ช
ํํ ์๋ ค์ ธ ์์ง ์๋ค. ๊ทธ๋ผ์๋ ๋ถ๊ตฌํ๊ณ Ti64 ํฉ๊ธ์ ๊ฒฝ์ฐ ์ค๋ ๊ธฐ๊ฐ ์ฌ์ฉ๋ ์ฌ๋ฃ(legacy alloy)๋ผ๋ ์ด์ ๋ก ์ด์ ๋ํ
์ฐ๊ตฌ๊ฐ ๊ฑฐ์ ์ด๋ฃจ์ด์ง์ง ์๊ณ ์๋ค. ๋ฐ๋ผ์ ๋ณธ ์ฐ๊ตฌ์์๋ ๊ฐ๊ฐ ์ํ์์ ํฌ๊ธฐ๊ฐ ๋์ผํ๊ฑฐ๋ ๋ค๋ฅธ ๋ฑ์ถ์ ์ํ์กฐ์ง๊ณผ ํผํฉ์กฐ์ง์ ๊ฐ์ง๋ 3์ข
์ ๋ฐ์๋๋
Ti64 ํฉ๊ธ ์ํธ์ ์ธ์ฅ, ๊ณ ์ฃผ๊ธฐํผ๋ก(high cycle fatigue) ๋ฐ ํผ๋ก๊ท ์ด์ ํ(fatigue crack propagation) ๊ฑฐ๋์
์ฐ๊ตฌํ์๋ค. ์ธ์ฅ, ๊ณ ์ฃผ๊ธฐํผ๋ก ๋ฐ ํผ๋ก๊ท ์ด์ ํ ์ํ ์ดํ ํ๋ฉด ๋ฐ ๊ท ์ด๊ฒฝ๋ก ๋ฑ์ ์ฃผ์ฌ์ ์ํ๋ฏธ๊ฒฝ(scanning electron microscope,
SEM)์ ์ด์ฉํ์ฌ ๊ด์ฐฐํ์๋ค. ์ด๋ฌํ ๊ด์ฐฐ์ ํ ๋๋ก ๋ฐ์๋๋ Ti64 ํฉ๊ธ์์ ๋ฏธ์ธ์กฐ์ง์ ์ธ์๊ฐ ๊ณ ์ฃผ๊ธฐํผ๋ก ๋ฐ ํผ๋ก๊ท ์ด์ ํ ๊ฑฐ๋์ ๋ฏธ์น๋ ์ํฅ์
๊ณ ์ฐฐํ์๋ค.
2. ์คํ๋ฐฉ๋ฒ
๋ณธ ์ฐ๊ตฌ์์๋ ๋ฑ์ถ์ ์กฐ์ง์ด๋ ํผํฉ์กฐ์ง ๊ทธ๋ฆฌ๊ณ ๋ฑ์ถ์ ์ํ์์ ํฌ๊ธฐ์ ๊ฐ์ ๋ฏธ์ธ์กฐ์ง์ ์ธ์๊ฐ Ti64 ํฉ๊ธ์ ํผ๋ก ๋ฐ ํผ๋ก๊ท ์ด์ ํ ๊ฑฐ๋์ ๋ฏธ์น๋ ์ํฅ์
๋ถ์ํ๊ณ ์, ๊ฐ๊ฐ ๋๊ป๊ฐ 1.3, 3, 50 mm์ธ 3์ข
์ ๋ฐ์๋๋ ์์ฉ Ti64 ํฉ๊ธ์ ์ด์ฉํ์๋ค. ๋ฏธ์ธ์กฐ์ง ๊ด์ฐฐ์ ์ํด ๊ฐ ์ํธ์ ์ฐ๋ง ํ, Kroll`s
์ฉ์ก(85 ml H2O + 5 ml HF + 3 ml HNO3)์ ์ด์ฉํ์ฌ ์์นญํ์์ผ๋ฉฐ, ์ฃผ์ฌ์ ์ํ๋ฏธ๊ฒฝ(SEM)์ผ๋ก ์กฐ์ง์ ๊ด์ฐฐํ์๋ค. ๊ทธ๋ฆผ 1์ SEM์ ์ด์ฉํด ๊ด์ฐฐํ ๋๊ป๊ฐ ๊ฐ๊ฐ (a) 1.3, (b) 3 ๊ทธ๋ฆฌ๊ณ (c) 50 mm์ธ ์ํธ์ ๋ฏธ์ธ์กฐ์ง์ ๋ณด์ฌ์ฃผ๊ณ ์๋ค. 1.3 mm ์ํธ์
๊ฒฝ์ฐ ์ํ์์ ํฌ๊ธฐ๊ฐ 8 ฮผm์ธ ํผํฉ์กฐ์ง์ด, 3 mm ์ํธ์ ์ํ์์ ํฌ๊ธฐ๊ฐ 8 ฮผm์ธ ๋ฑ์ถ์ ์กฐ์ง์ด ๊ทธ๋ฆฌ๊ณ 50 mm ์ํธ์ ์ํ์์ ํฌ๊ธฐ๊ฐ 16
ฮผm์ธ ํผํฉ์กฐ์ง์ด ๊ด์ฐฐ๋์์ผ๋ฉฐ, ๊ฐ๊ฐ BM-8, EQ-8 ๋ฐ BM-16 ์ํธ์ผ๋ก ๋ช
๋ช
ํ์๋ค. ๊ฐ ์ํธ์ ์กฐ์ง์ ํน์ฑ์ ํ 1์ ๋ํ๋ด์๋ค. ์ผ๋ฐ์ ์ผ๋ก ๋ฑ์ถ์ ์ํ์์ ํฌ๊ธฐ๋ ํผํฉ์กฐ์ง์ ์์ฑ ์ ๋ฌด๋ ์๋ ์ ๊ฐ๊ณต ์ ๋, ์ํ์ ๋ฒ ํ์์ด ๊ณต์กดํ๋ ์จ๋ ๋ฒ์์์์ ์๋ ์จ๋
๋ฐ ๋๊ฐ์๋ ๋ฑ๊ณผ ๊ฐ์ ์ด๊ธฐ๊ณ ๊ฐ๊ณต(thermomechanical treatment) ๊ณต์ ์ธ์์ ์ํด ๊ฒฐ์ ๋๋ค [13]. ๋ณธ ์ฐ๊ตฌ์ ๊ฒฝ์ฐ 1.3 mm๋ 3 mm ๋๊ป ์ํธ์ ๊ฒฝ์ฐ๋ 50 mm ๋๊ป ์ํธ์ ๋นํด ๊ฐ๊ณต ์ ๋๊ฐ ์ปค์ ๋ฑ์ถ์ ์ ํฌ๊ธฐ๊ฐ ๋ฏธ์ธํ ๊ฒ์ผ๋ก ํ๋จ๋๋ฉฐ,
ํผํฉ์กฐ์ง์ ๊ฒฝ์ฐ ๋ฑ์ถ์ ์กฐ์ง์ ๋นํด ์๋์ ์ผ๋ก ๋์ ์จ๋ ์์ญ์์ ์ด์ฒ๋ฆฌ ๋์์ ๊ฒ์ผ๋ก ์์๋๋ค.
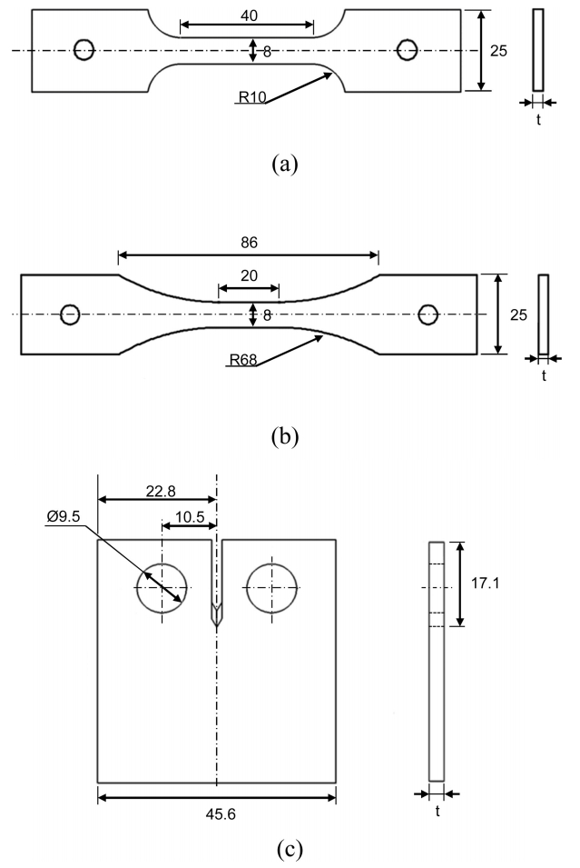
๊ฐ ํฉ๊ธ ์ํธ์์ ๊ทธ๋ฆผ 2์์ ๋ณด๋ ๋ฐ์ ๊ฐ์ด (a) ์ธ์ฅ, (b) ๊ณ ์ฃผ๊ธฐํผ๋ก ๋ฐ (c) ํผ๋ก๊ท ์ด์ ํ ํน์ฑ ํ๊ฐ๋ฅผ ์ํ CT(compact tension) ์ํธ์ ์ ์ํ์๋ค.
์ธ์ฅ ๋ฐ ๊ณ ์ฃผ๊ธฐํผ๋ก ์ํธ์ BM-8๊ณผ EQ-8 ์ํธ์ ๊ฒฝ์ฐ์๋ ํ์ฌ์ ๋๊ป์ ๋์ผํ๊ฒ ๊ฐ๊ณตํ์์ผ๋ฉฐ, BM-16 ์ํธ์ ๊ฒฝ์ฐ์๋ ํ์ฌ ์ค์๋ถ์์ ๋๊ป
3 mm๋ก ๊ฐ๊ณตํ์๋ค. CT ์ํธ์ ๋๊ป๋ BM-8๊ณผ EQ-8 ์ํธ์ ๊ฒฝ์ฐ์๋ ํ์ฌ์ ๋๊ป์ ๋์ผํ์์ผ๋ฉฐ, BM-16 ์ํธ์ ๊ฒฝ์ฐ์๋ ํ์ฌ์ ์ค์๋ถ์์
12.7 mm์ ๋๊ป๋ฅผ ๊ฐ์ง๋๋ก ๊ฐ๊ณต๋์๋ค. ์ธ์ฅ ์ํ์ ASTM E8์ ์๊ฑฐํ์ฌ 1 ร 10-3s-1์ ๋ณํ๋ฅ ์๋๋ก ๋ง๋ฅ์ฌ๋ฃ์ํ๊ธฐ(๋ชจ๋ธ๋ช
: MTDI UT-100)๋ฅผ ์ด์ฉํ์ฌ ์ํํ์๋ค. ๊ณ ์ฃผ๊ธฐํผ๋ก ์ํ์ ASTM E466์ ์๊ฑฐํ์ฌ ํ์ค๋น 0.1,
์ง๋์ 30 Hz์์ ์ผ์ถํ์ค ๋ฐฉ์์ผ๋ก ๋์ ์ฌ๋ฃ์ํ๊ธฐ(๋ชจ๋ธ๋ช
: Instron 8516)๋ฅผ ์ด์ฉํ์ฌ ์ค์ํ์๋ค. ๋ณธ ์ฐ๊ตฌ์์๋ 5 ร 106 ์ฌ์ดํด์ ์ํ์ข
๋ฃ(run-out) ์กฐ๊ฑด์ผ๋ก ์ค์ ํ์๋ค. ํผ๋ก๊ท ์ด์ ํ ์ํ์ CT ์ํธ์ ์ด์ฉํ์ฌ ํ์ค๋น 0.1 ๋ฐ ์ง๋์ 10 Hz์ ์กฐ๊ฑด์ผ๋ก ๋์ ์ฌ๋ฃ์ํ๊ธฐ(๋ชจ๋ธ๋ช
:
Instron 8516)๋ฅผ ์ด์ฉํ์ฌ ASTM E647 ๊ท๊ฒฉ์ ๋ฐ๋ผ ์ค์ํ์๋ค. ๊ท ์ด ๊ธธ์ด๋ ์ง๋ฅ์ ์๊ฐํ๋ฒ(direct current potential
drop, DCPD)์ ์ด์ฉํ์ฌ ์ธก์ ํ์๋ค. ์ํ ํ ์ํธ์ ํ๋ฉด, ํ๋ฉด ๋ฐ ๊ท ์ด์ ํ๊ฒฝ๋ก๋ฅผ SEM์ ์ด์ฉํ์ฌ ๊ด์ฐฐํ์๋ค.
3. ์ํ๊ฒฐ๊ณผ ๋ฐ ๊ณ ์ฐฐ
3.1 ์ธ์ฅ ๊ฑฐ๋
๊ทธ๋ฆผ 3์ ์ธ ์ํธ์ ๋ํ์ ์ธ ์๋ ฅ-๋ณํ๋ฅ ๊ณก์ ์ ๋ณด์ฌ์ฃผ๊ณ ์์ผ๋ฉฐ, ํ 2์ 3์ข
์ ๋ฐ์๋๋ Ti64 ํฉ๊ธ ์ํธ์ ํ๊ท ์ธ์ฅํน์ฑ์ ๋ํ๋ด์๋ค. ํ์์ ์ ์ ์๋ ๋ฐ์ ๊ฐ์ด ์ธ์ฅ๊ฑฐ๋์ ๋ฏธ์ธ์กฐ์ง์ ์ธ์๊ฐ ์๋๋ผ ์์ฐ์ฌ์ ๋๊ป
์ฆ๊ฐ์ ๋ฐ๋ผ ๊ฐ์ํ๋ ์ ํ์ ์ธ ํฌ๊ธฐ ํจ๊ณผ(size effect)๋ฅผ ๋ณด์ฌ์ฃผ๊ณ ์๋ค. ์ฆ, ๋ฑ์ถ์ ์กฐ์ง๊ณผ ํผํฉ์กฐ์ง์ ๊ฒฝ์ฐ ๋ฏธ์ธ์กฐ์ง์ ์ธ์์ ์ํ ์ํฅ๋ณด๋ค๋
๊ฐ๊ณต๊ฒฝํ์ ์ ๋์ ๋๊ป ์ฆ๊ฐ์ ๋ฐ๋ฅธ ํฌ๊ธฐ ํจ๊ณผ๊ฐ ๋ ํฐ ๊ฒ์ ์ ์ ์๋ค. ํฌ๊ธฐ ํจ๊ณผ ์ธ์ ์ธ์ฅํน์ฑ์ ๋ฏธ์น๋ ๋ฏธ์ธ์กฐ์ง์ ์ธ์์ ์ํฅ์ ์์๋ณด๊ธฐ ์ํ์ฌ
๊ฐ๊ฐ (a) BM-8, (b) EQ-8 ๋ฐ (c) BM-16 ์ํธ์ ์ธ์ฅ ํ ํ๋ฉด์ SEM์ ์ด์ฉํ์ฌ ๊ด์ฐฐํ ์ฌ์ง์ ๊ทธ๋ฆผ 4์ ๋ํ๋ด์๋ค. ๊ฐ ์ํธ์ ํ๋ฉด์ ์กฐ์ง์ด๋ ํฌ๊ธฐ์ ๋ฌด๊ดํ๊ฒ ๋ชจ๋ ๋คํ์ด ๊ด์ฐฐ๋๋ ์ฐ์ฑํ๋จ ์์์ ๋ณด์ด๊ณ ์๋ค. ๋คํ์ ํฌ๊ธฐ๋ ๋ฑ์ถ์ ์ด๋ ํผํฉ์กฐ์ง๊ณผ๋
๋ฌด๊ดํ๊ฒ ์ํ์์ ๊ฒฝ๊ณ์ ์์นํ๊ณ ์๋ ๋ฒ ํ์์ ๋ถํฌ์ ๊ด๋ จ์ด ์๋ ๊ฒ์ผ๋ก ํ๋จ๋๋ค. ์ฆ, ์ํ์์ ํฌ๊ธฐ๊ฐ 8 ฮผm ์ธ BM-8๊ณผ EQ-8 ์ํธ์
๋คํ ๊ฐ์ ๊ฑฐ๋ฆฌ๊ฐ ์ ์ฌํ์์ผ๋, ์ํ์์ ํฌ๊ธฐ๊ฐ 16 ฮผm ์ธ BM-16 ์ํธ์ ๋คํ ๋ถํฌ๋ ๋ค๋ฅธ ๋ ์ํธ๊ณผ ๋น๊ตํ์ฌ ํ์ฐํ ํฐ ๊ฒ์ ์ ์ ์๋ค.
์ด์ฒ๋ผ ๋ฒ ํ์๊ณผ ํ๋ฉด ๋คํ ๊ฐ์ ์๊ด๊ด๊ณ๋ฅผ ํ์ธํ๊ธฐ ์ํ์ฌ ํ๋ฉด์ ์ฐ๋ง/์์นญํ ์ํธ์ ์ธ์ฅ ๋ณํ์ํจ ํ ํ๋ฉด๋ถ๋ฅผ SEM์ ์ด์ฉํ์ฌ ๊ด์ฐฐํ์๋ค. ๊ทธ๋ฆผ 5์์ ๋ณด๋ ๋ฐ์ ๊ฐ์ด ๋ฑ์ถ์ ์ด๋ ํผํฉ์กฐ์ง๊ณผ๋ ๋ฌด๊ดํ๊ฒ ๋คํ์ ์ด๊ธฐ ๋จ๊ณ์ธ ๋ฏธ์ธ๊ณต๊ณต๋ค์ด ๋ฒ ํ์๊ณผ ์ํ์ ๊ฒฝ๊ณ๋ฉด์์ ์์ฑ๋๋ ๊ฒ์ ํ์ธํ ์ ์๋ค. ์ดํ
๊ณ์๋ ์ธ์ฅ์ ์ํด ์ฐ์ ๋ ๋ฏธ์ธ๊ณต๊ณต๋ค์ด ์๋ก ๋ณํฉ๋๋ ๋ฏธ์ธ๊ณต๊ณต์ ์ฐํฉ(microvoid coalescence) ๊ธฐ๊ตฌ์ ์ํด์ ์ธ์ฅํ๋จ์ด ๋ฐ์ํ ๊ฒ์
์ ์ ์๋ค. ๋ฐ๋ผ์ ํ๋ฉด์์ ๊ด์ฐฐ๋ ๋คํ ๋ถํฌ๋ ๋ฏธ์ธ์กฐ์ง์ ์ธ์๊ฐ ์๋๋ผ ๋ฒ ํ์์ ๋ถํฌ์ ์ํด ์ง๋ฐฐ์ ์ผ๋ก ๊ฒฐ์ ๋๋ ๊ฒ์ผ๋ก ํ๋จ๋๋ค.
3.2 ๊ณ ์ฃผ๊ธฐํผ๋ก ๊ฑฐ๋
๋ฐ์๋๋ Ti64 ํฉ๊ธ์ ๋ฏธ์ธ์กฐ์ง์ ์ธ์๊ฐ ๊ณ ์ฃผ๊ธฐํผ๋ก ๊ฑฐ๋์ ๋ฏธ์น๋ ์ํฅ์ ์์๋ณด๊ธฐ ์ํด 3์ข
์ ์ํธ์ ๋ํด ์๋ ฅ์ ์ด ํผ๋ก ์ํ์ ์ค์ํ์์ผ๋ฉฐ, ๊ทธ
๊ฒฐ๊ณผ๋ฅผ ๊ทธ๋ฆผ 6์ ์์ง์๋ ฅ(alternating stress) โ ํ๋จ์ฌ์ดํด(cycles to failure) ๊ทธ๋ํ๋ก ๋ํ๋ด์๋ค. ๋ณธ ๊ทธ๋ํ๋ฅผ ํตํด EQ-8 ์ํธ์ด
๊ฐ์ฅ ์ฐ์ํ ๊ณ ์ฃผ๊ธฐํผ๋ก ์ ํญ์ฑ์ ๊ฐ์ง๊ณ ์์์ ์ ์ ์๋ค. ๋ค์์ผ๋ก BM-8 ์ํธ๊ณผ BM-16 ์ํธ ์์ผ๋ก ์ธก์ ๋์์ผ๋ฉฐ, ์ด ๋ ์ํธ์ ๊ณ ์๋ ฅ๊ณผ
์ค๊ฐ ์๋ ฅ๋์์๋ ์ ์ฌํ ์ ํญ์ฑ์ ๋ํ๋ด์๋ค. ์ผ๋ฐ์ ์ผ๋ก ๊ธ์์ ๊ณ ์ฃผ๊ธฐํผ๋ก ์ ํญ์ฑ์ ์ธ์ฅ๊ฐ๋์ ๋น๋กํ๋ ๊ฒฝํฅ์ ๋ํ๋ด๋ ๊ฒฝ์ฐ๊ฐ ๋ง๋ค [14]. ๋ฐ๋ผ์ ๋ณธ ์ฐ๊ตฌ์์๋ ๊ณ ์ฃผ๊ธฐํผ๋ก์ ์ธ์ฅ๊ฐ๋ ๊ฐ์ ๊ด๊ณ๋ฅผ ํ์ธํ๊ธฐ ์ํด์ ์์ง์๋ ฅ์ ์ธ์ฅ๊ฐ๋๋ก ์ ๊ทํํ ๊ฐ์ ํ๋จ์ฌ์ดํด์ ํจ์๋ก ๊ทธ๋ฆผ 7์ ๋ํ๋ด์๋ค. ๊ทธ๋ฆผ์์ ๋ณด๋ ๋ฐ์ ๊ฐ์ด ์ธ์ฅ๊ฐ๋๋ก ์ ๊ทํํ ํ์๋ ์ธ ์ํธ ๊ฐ์ ๊ณ ์ฃผ๊ธฐํผ๋ก ์ ํญ์ฑ ์ฐจ์ด๊ฐ ์กด์ฌํ๋ฉฐ, ๋ฑ์ถ์ ์กฐ์ง์ EQ-8 ์ํธ์ด
์ฌ์ ํ ๊ฐ์ฅ ๋์ ์ ํญ์ฑ์ ๋ณด์์ผ๋ฉฐ, ํผํฉ์กฐ์ง์ ๊ฐ์ง๋ ๋ ์ํธ์ ์ด๋ณด๋ค ๋ฎ์ ์ ํญ์ฑ์ ๋ํ๋ด์๋ค.
๊ณ ์ฃผ๊ธฐํผ๋ก ๊ฑฐ๋์ ๊ฒฝ์ฐ ๊ท ์ด์ ์์ฑ ๊ธฐ๊ตฌ์ ์ง์ ๊ธฐ๊ตฌ๊ฐ ์ฌ๋ฃ๋ง๋ค ๋ค๋ฅผ ์ ์์ผ๋ฉฐ, ํนํ ์ ์ฒด ํ๋จ์ฌ์ดํด์์ ๊ท ์ด์ ์์ฑ์ ์์๋๋ ์ฌ์ดํด์ ๋น์ค์ด
ํฐ ๊ฒ์ผ๋ก ์๋ ค์ ธ ์๋ค [15]. ๋ณธ ์ฐ๊ตฌ์์๋ ์ธ ์ํธ๊ฐ์ ๊ณ ์ฃผ๊ธฐํผ๋ก ๊ฑฐ๋ ์ฐจ์ด์ ์์ธ์ ์์๋ณด๊ธฐ ์ํด์ ๊ฐ ์ํธ์ ํ๋ฉด์ ์์นญํ ํ ํผ๋กํ๋จ ์ ์ ์ํ์ ์ค๋จํ ํ ํ๋ฉด์
SEM์ ์ด์ฉํ์ฌ ๊ด์ฐฐํ์๋ค. ๊ทธ๋ฆผ 8์ ๊ฐ๊ฐ (a) BM-8, (b) EQ-8 ๋ฐ (c) BM-16 ์ํธ์ ํ๋ฉด ํผ๋ก๊ท ์ด์ SEM์ ์ด์ฉํ์ฌ ๊ด์ฐฐํ ์ฌ์ง์ ๋ณด์ฌ์ฃผ๊ณ ์๋ค. ๋ฑ์ถ์ ์กฐ์ง์
๊ฒฝ์ฐ ์๋ ค์ ธ ์๋ ๋ฐ์ ๊ฐ์ด ์ํ์์ ๋ด๋ถ์์ ๊ท ์ด์ด ์์ฑ๋ ๊ฒ์ ์ ์ ์๋ค. ์ฌ๋ฆฝ๋ฐด๋(slip band) ์์ฑ ๋ฐ ์ด๊ณณ์์์ ์๋ ฅ์ง์ค์ ์ํ ํผ๋ก๊ท ์ด์์ฑ
๊ธฐ๊ตฌ๋ ์ด๋ฏธ ์ฌ๋ฌ ์ฐ๊ตฌ์์ ๋ณด๊ณ ๋์ด ์๋ค [14,16,17]. ๋ฑ์ถ์ ์กฐ์ง๊ณผ๋ ๋ฌ๋ฆฌ ํผํฉ์กฐ์ง์ ๊ฒฝ์ฐ ๊ท ์ด์ ์ฃผ๋ก ์ํ์๊ณผ ๋ฒ ํ์์ ๊ฒฝ๊ณ์์ ์์ฑ๋๋ ๊ฒ์ ์ ์ ์๋ค [18]. ์ด์ ์ฐ๊ตฌ์ ์ํ๋ฉด ๊ฒฐ์ ๋ฆฝ๊ณ๋ ์์ ๊ฒฝ๊ณ์์ ๊ท ์ด์ด ๋ฐ์ํ๋ ๊ฒฝ์ฐ๋ ๊ฒฐ์ ๋ฆฝ ๋ด์์ ์ฌ๋ฆฝ๋ฐด๋์ ์ํ ๊ท ์ด ์์ฑ์ ์์๋๋ ์๋์ง๊ฐ ์๋ฑํ ํฌ๋ฉฐ,
์ด๋ฌํ ์ฐจ์ด๋ก ์ธํด ๊ท ์ด์์ฑ ์ฌ์ดํด ์๋ 2๋ฐฐ ๊ฐ๋ ์ฐจ์ด๊ฐ ๋ ์ ์์์ ๋ณด๊ณ ํ๊ณ ์๋ค [16]. ํ๋ฉด์ ๊ท ์ด ๊ด์ฐฐ์์๋ ์ ์ ์๋ ๋ฐ์ ๊ฐ์ด ๋ฑ์ถ์ ์กฐ์ง์ ๊ฐ์ง๋ EQ-8 ์ํธ์ด ์ธ์ฅ๊ฐ๋๋ ๊ฒฐ์ ๋ฆฝ ํฌ๊ธฐ ๋ฑ๊ณผ ๊ด๋ จ ์์ด ํผํฉ์กฐ์ง์ธ BM-8์ด๋
BM-16 ์ํธ์ ๋นํด ์ฐ์ํ ๊ณ ์ฃผ๊ธฐํผ๋ก ์ ํญ์ฑ์ ๊ฐ์ง๋ ๊ฒ์ ์ ์ ์๋ค. ๊ฒฐ๋ก ์ ์ผ๋ก ๋ฐ์๋๋ Ti64 ํฉ๊ธ์ ๊ณ ์ฃผ๊ธฐํผ๋ก ์ ํญ์ฑ์ ์ธ์ฅ๊ฐ๋์ ์ํฅ
๋ณด๋ค๋ ๋ฏธ์ธ์กฐ์ง์ ์ธ์์ ์ํฅ์ด ํฐ ๊ฒ์ ์ ์ ์๋ค. ์ฆ, ๊ท ์ด์์ฑ๊ธฐ๊ตฌ์ ์ฐจ์ด์ ์ํด ํผํฉ์กฐ์ง ๋ณด๋ค๋ ๋ฑ์ถ์ ์กฐ์ง์ด ์ฐ์ํ ๊ฒ์ ์ ์ ์์๋ค.
๊ทธ๋ฆผ 9๋ ๊ฐ๊ฐ (a) BM-8(360 MPa), (b) EQ-8(374 MPa) ๋ฐ (c) BM-16(350 MPa) ์ํธ์ ํผ๋กํ๋จ ํ ๊ท ์ด์ด ์์ฑ๋
๋ถ์์ ํ๋ฉด์ SEM์ ์ด์ฉํ์ฌ ๊ด์ฐฐํ ์ฌ์ง์ ๋ณด์ฌ์ฃผ๊ณ ์์ผ๋ฉฐ, ๊ดํธ ์์ ์๋ ฅ์ ํผ๋ก ์ํ ์ค์ ๊ฐ ์ํธ์ ๊ฐํด์ก๋ ์์ง์๋ ฅ์ ๋ํ๋ด๊ณ ์๋ค. ์ํ์๊ณผ
๋ฒ ํ์์ ๊ฒฝ๊ณ์์ ๊ท ์ด์ด ์ฃผ๋ก ๋ฐ์ํ๋ ํผํฉ์กฐ์ง ์ํธ์์๋ ๊ท ์ด์์ฑ๋ถ์์ ์ํ์๊ณผ ๋ฒ ํ์์ ๋ถ๋ฆฌ ํ์ ์ด ๊ด์ฐฐ๋๊ณ ์๋ค. ์ด์ ๋ฐํด ์ํ์ ๋ด์ ์ฌ๋ฆฝ๋ฐด๋์์
๊ท ์ด์ด ๋ฐ์ํ๋ ๊ฒฝ์ฐ์๋ ์ด๋ฌํ ๋ถ๋ฆฌ ํ์ ์ ๊ด์ฐฐํ ์ ์์ผ๋ฉฐ, ๊ท ์ด ์์ฑ๋ถ๊ฐ ์๋์ ์ผ๋ก ์๊ณ ํน๋ณํ ํํ์ ํน์ง์ ๋ณด์ฌ์ฃผ์ง ์๋ ๊ฒ์ ์ ์ ์๋ค.
๊ทธ๋ฆผ 10์ ๊ฐ๊ฐ (a) BM-8(360 MPa), (b) EQ-8(374MPa) ๋ฐ (c) BM-16(350 MPa) ์ํธ์ ํผ๋กํ๋จ ํ ๊ท ์ด์ด ์ฑ์ฅ๋ ๋ถ์์
ํ๋ฉด์ SEM์ ์ด์ฉํ์ฌ ๊ด์ฐฐํ ์ฌ์ง์ ๋ณด์ฌ์ฃผ๊ณ ์๋ค. ์ธ ์ํธ ๋ชจ๋ ์ํ์์ ๊ฐ๋ก์ง๋ฅด๋ฉด์ ์
๋ด(transgranular)๋ก ๊ท ์ด์ด ์ฑ์ฅ๋ ๋ฒฝ๊ณ๋ฉด(cleavage
facet)๋ค์ด ํ๋ฉด์์ ๊ด์ฐฐ๋์๋ค. ์ด๋ฌํ ๋ฒฝ๊ณ๋ฉด์ ํฌ๊ธฐ๋ ๊ฐ ์ํธ์ ์ํ์์ ํฌ๊ธฐ์ ๋ฐ๋ผ ํฐ ์ฐจ์ด๊ฐ ๋๋ ๊ฒ์ ์ ์ ์๋ค. ๊ฐ ์ํธ์ ํผ๋ก๊ท ์ด์ฑ์ฅ
๊ฑฐ๋์ CT ์ํธ์ ์ด์ฉํ ์ํ์์ ์ข ๋ ๋ฉด๋ฐํ ๊ด์ฐฐํ์๋ค.
3.3 ํผ๋ก๊ท ์ด์ ํ ๊ฑฐ๋
์ ์ ํ ๋ฐ์ ๊ฐ์ด ํผ๋ก ๊ฑฐ๋์ ํผ๋ก ๊ท ์ด์ด ์์ฑ๋๋ ํ์๊ณผ ์์ฑ๋ ๊ท ์ด์ด ์ฑ์ฅํ๋ฉด์ ์ ํํ๋ ํ์์ผ๋ก ์ด๋ฃจ์ด์ ธ ์๋ค [19,20]. ํผ๋ก๊ท ์ด์ ํ์๋ ๋ค์ํ ๋ฏธ์ธ์กฐ์ง์ ์ธ์๋ค์ด ์ํฅ์ ๋ฏธ์น ์ ์์ผ๋, ์ผ๋ฐ์ ์ธ ๋ณํ ๊ฑฐ๋์ด๋ ๊ณ ์ฃผ๊ธฐํผ๋ก ๊ฑฐ๋์ ๋นํด์๋ ์ฃผ๋ ์ธ์๋ฅผ ์๋ณํ๊ธฐ๊ฐ
๋งค์ฐ ์ด๋ ต๋ค. ํนํ ์ธ์ฅํน์ฑ์ด ํผ๋ก๊ท ์ด์ ํ์ ๋ฏธ์น๋ ์ํฅ์ ๋ํ ์ฐ๊ตฌ๋ ์ฌ๋ฌ ์ฐ๊ตฌ์์ ์ํด ์ํ๋์์ผ๋, ๋
๋ฆฝ์ ์ผ๋ก ํน์ ์ธ์ฅํน์ฑ์ ์ํฅ์ ํ์ธํ
๊ฒฝ์ฐ๋ ๊ฑฐ์ ์๋ ค์ ธ ์์ง ์๋ค. ๊ณ ์ ์ ์ธ ํผ๋ก๊ท ์ด์ ํ ์ฐ๊ตฌ์์๋ ํ์ฑ๊ณ์๊ฐ ํผ๋ก๊ท ์ด์ ํ ๊ณก์ ์ ๊ธฐ์ธ๊ธฐ์ ์ํฅ์ ๋ฏธ์น๋ค๋ ์ด๋ก ๊ณผ ์คํ์ ๊ฒ์ฆ์ด ์์์ผ๋,
์ต๊ทผ ์ฐ๊ตฌ ๊ฒฐ๊ณผ์์ ์ด๋ฌํ ์ํฅ์ด ํ์ธ๋์ง ์๋ ๊ฒฝ์ฐ๊ฐ ๋ง๋ค. ํผ๋ก๊ท ์ด์ ํ ์ ํญ์ฑ์ ๊ท ์ด์ ๋จ์์์ ํผ๋ก ์์์ ์ถ์ ์ ๋์ ์ํด ๊ฒฐ์ ๋๋ ๊ฒฝ์ฐ๊ฐ ๋ง๋ค.
์ฆ, ํผ๋ก ์์์ ์ ๋จ๊ณ๋ ๊ท ์ด์ ๋จ์์ ๊ตญ๋ถ์ ๋ณํ ํํ์ธ ์ฌ๋ฆฝ๋ฐด๋๊ฐ ํ์ฑ๋๊ณ , ์ด๋ฌํ ์ฌ๋ฆฝ๋ฐด๋์์์ ํผ๋ก ์์ ์ถ์ ์ ์ฌ๋ฆฝ๊ฐ์ญ์ฑ(slip reversibility)์
์ํด ๊ฒฐ์ ๋๋ค [21,22]. ์ฆ, ์ฌ๋ฆฝ๊ฐ์ญ์ฑ์ด 100%์ผ ๊ฒฝ์ฐ ์ถ์ ๋๋ ์์์ 0์ด ๋๋ค. ์ฌ๋ฆฝ๊ฐ์ญ์ฑ์ ๊ฐ์ฅ ํฐ ์ํฅ์ ๋ฏธ์น๋ ๊ธ์ํ์ ์ธ์๋ก๋ ๊ฒฐ์ ๋ฆฝ์ ํฌ๊ธฐ์ ์ ์ธต๊ฒฐํจ์๋์ง(stacking
fault energy)๊ฐ ์๋ค [21]. ์ผ๋ฐ์ ์ผ๋ก ๊ธ์์ ํผ๋ก๊ท ์ด์ ํ๋ ํน์ ํ ๊ฒฐ์ ๋ฉด์ ๋ฐ๋ผ์ ์ผ์ด๋๋ ๋ฒฝ๊ฐํ๊ดด์ ํํ๋ฅผ ๋ณด์ด๋ฉฐ, ๋ฒฝ๊ฐํ๊ดด์ ์ฅ์ ๋ฌผ ์ญํ ์ ํ๋ ๊ฒฐ์ ๋ฆฝ์ ํฌ๊ธฐ๊ฐ ์์์๋ก
์ฌ๋ฆฝ๊ฐ์ญ์ฑ์ ๋ฎ์์ ธ ํผ๋ก๊ท ์ด์ ํ ์๋๋ ๋์์ง ์ ์๋ค [21]. ๋ง์ฐฌ๊ฐ์ง๋ก ๊ณก์ ์ ์ธ ์ฌ๋ฆฝ(wavy slip)์ด ์ง์ ์ ์ธ ์ฌ๋ฆฝ(planar slip)๋ณด๋ค๋ ์ฌ๋ฆฝ๊ฐ์ญ์ฑ์ ๋ฎ์ถ๊ฒ ๋๊ณ , ํผ๋ก๊ท ์ด์ ํ ์๋๋ฅผ ๋์ด๊ฒ
๋๋ค. ๋ฐ๋ผ์ ์ ์ธต๊ฒฐํจ์๋์ง๊ฐ ๋ฎ์ ๊ธ์์ด ์๋์ ์ผ๋ก ๋์ ์ฌ๋ฆฝ๊ฐ์ญ์ฑ์ ๊ฐ์ง๋ฉฐ ํผ๋ก๊ท ์ด์ ํ ์ ํญ์ฑ ๋ํ ์ฐ์ํ ์ ์๋ค [21]. ์ดํด๋ณธ ๋ฐ์ ๊ฐ์ด ํผ๋ก๊ท ์ด์ ํ ์ ํญ์ฑ๊ณผ ๊ด๋ จํ ๊ธ์ํ์ ์ธ์๋ค์ ์ผ๋ฐ์ ์ผ๋ก ๋ณํ์ด๋ ๊ณ ์ฃผ๊ธฐํผ๋ก ๊ฑฐ๋์ ๋ฏธ์น๋ ์ํฅ๊ณผ๋ ๋ค๋ฅธ ๊ฒฝ์ฐ๊ฐ ๋ง๋ค.
๋ณธ ์ฐ๊ตฌ์์๋ ๋ฏธ์ธ์กฐ์ง์ ์ธ์๊ฐ ๋ฐ์๋๋ Ti64 ํฉ๊ธ์ ํผ๋ก๊ท ์ด์ ํ ๊ฑฐ๋์ ๋ฏธ์น๋ ์ํฅ์ ์์๋ณด๊ธฐ ์ํด์ BM-8, EQ-8 ๊ทธ๋ฆฌ๊ณ BM-16 ์ํธ์
๋ํด ํ์ค๋น 0.1์์ ํผ๋ก๊ท ์ด์ ํ์๋(da/dN) - ์๋ ฅํ๋๊ณ์๋ฒ์(ฮK) ๊ด๊ณ๋ฅผ ์ธก์ ํ์๋ค. ๊ทธ๋ฆผ 11์์ ๋ณด๋ ๋ฐ์ ๊ฐ์ด ์ธ ์ํธ์ da/dN โ ฮK ๊ฑฐ๋์ ์ ์ฌํ ๊ฒ์ผ๋ก ๋ํ๋ฌ๋ค. ๋์ผํ 8 ฮผm ํฌ๊ธฐ์ ์ํ์์ ๊ฐ์ง๋ ๋ฑ์ถ์ ์กฐ์ง๊ณผ ํผํฉ์กฐ์ง์
๋ฐ์๋๋ Ti64 ํฉ๊ธ์ ํผ๋ก๊ท ์ด์ ํ ์ ํญ์ฑ์ ์ฐจ์ด๋ ๊ฑฐ์ ๊ด์ฐฐ๋์ง ์์๋ค. ๋ง์ฐฌ๊ฐ์ง๋ก ์ํ์์ ํฌ๊ธฐ๊ฐ ๊ฐ๊ฐ 8 ฮผm๊ณผ 16 ฮผm์ธ ํผํฉ์กฐ์ง์ ๊ฐ์ง๋
์ํธ์์๋ ํผ๋ก๊ท ์ด์ ํ ์ ํญ์ฑ์ ์ฐจ์ด๋ ํฌ์ง ์์๋ค. ์ต๊ทผ์๋ ํ๊ดด์ญํ์ ์ด์ฉํ ๊ตฌ์กฐ๋ฌผ ์๋ช
ํด์ ๊ธฐ์ ์ ๋ฐ๋ฌ๊ณผ ํผ๋ก๊ท ์ด ์ธก์ ๊ธฐ์ ์ ํฅ์์ผ๋ก ๊ณผ๊ฑฐ
ํ๋ฆฌ์ค ์์ญ(Parisโ regime) ์์ฃผ์ ์ฐ๊ตฌ์์ ์๊ณ์๋ ฅํ๋๊ณ์๋ฒ์(near-threshold ฮK, ฮKth)๋ฅผ ํฌํจํ์ฌ ์๋์ ์ผ๋ก ๋ฎ์ ฮK ์์ญ์์์ ํผ๋ก๊ท ์ด์ ํ ๊ฑฐ๋์ ๋ํ ๊ด์ฌ์ด ๋์์ง๊ณ ์๋ค [21,23]. ๋ณธ ์ฐ๊ตฌ์์ ์ํ์์ ํฌ๊ธฐ๊ฐ 16 ฮผm์ธ ํผํฉ์กฐ์ง์ ๊ฐ์ง๋ BM-16 ์ํธ์ ฮKth ๊ฐ์ 4.3 MPaโ m๋ก ๋ค๋ฅธ ๋ ์ํธ์ ๋นํด ๋ค์ ๋์ ๊ฒ์ผ๋ก ์ธก์ ๋์๋ค.
๋ณธ ์ฐ๊ตฌ์์ ์ฌ์ฉ๋ 3์ข
์ ๋ฐ์๋๋ Ti64 ํฉ๊ธ์ ๋ฏธ์ธ์กฐ์ง์ ์ฐจ์ด์ ์ํ ํผ๋ก๊ท ์ด์ ํ ์ ํญ์ฑ์ ์ฐจ์ด๋ ๋ฏธ๋ฏธํ ๊ฒ์ ์ ์ ์๋ค. ์ด๋ฌํ ์์ธ์ ์์๋ณด๊ธฐ
์ํด์ ์ํ์ด ์๋ฃ๋ ์ํธ์ ํ๋ฉด ๋ฐ ๊ท ์ด๊ฒฝ๋ก๋ฅผ SEM์ ์ด์ฉํ์ฌ ๊ด์ฐฐํ์๋ค. ๊ทธ๋ฆผ 12์ ๊ทธ๋ฆผ 13์ ฮKth ์์ญ์์์ (a) BM-8, (b) EQ-8 ๊ทธ๋ฆฌ๊ณ (c) BM-16 ์ํธ์ ํผ๋ก๊ท ์ด์ ํ ์ํ ํ ํ๋ฉด(๊ทธ๋ฆผ 12)๊ณผ ๊ท ์ด๊ฒฝ๋ก(๊ทธ๋ฆผ 13)๋ฅผ SEM์ ์ด์ฉํ์ฌ ๊ด์ฐฐํ ์ฌ์ง์ ๋ณด์ฌ์ฃผ๊ณ ์๋ค. ์ธ ์ํธ ๋ชจ๋ ์
๋ด๋ก ์งํ๋ ๋ฒฝ๊ฐํ๊ดด(cleavage)์ ์ํ ๋ฉด(facet)๋ค์ด ๊ด์ฐฐ๋์์ผ๋,
๋ฏธ์ธ์กฐ์ง์ ์ฐจ์ด ๋๋ฌธ์ ๋ฒฝ๊ฐ๋ฉด์ ํฌ๊ธฐ์ ํํ๋ ์๋นํ ์ฐจ์ด๊ฐ ์์์ ์ ์ ์์๋ค. ํผํฉ์กฐ์ง์ BM-8๊ณผ BM-16 ์ํธ ๋ชจ๋ ๋ฑ์ถ์ ์กฐ์ง์ ๋นํด ๋ฒฝ๊ฐ๋ฉด์ด
์ ๋ฐ๋ฌ๋์ด ์์ผ๋ฉฐ, ๊ฐ ๋ฉด์ ํฌ๊ธฐ๋ ๋ฑ์ถ์ ์ํ์์ ํฌ๊ธฐ์ ์ ์ฌํ ๊ฒ์ ์ ์ ์๋ค. ๋ ์ํธ์ ํ๋ฉด ๋ชจ๋ ์ํ์๊ณผ ๋ฒ ํ์์ ๋ถ๋ฆฌ(decohesion)์
ํฌํจํ ์ทจ์ฑ์ ์ธ ๋ฒ ํ์์ด ๊ท ์ด์ฑ์ฅ์ ์ํฅ์ ๋ฏธ์น ํ์ ์ ๊ด์ฐฐ๋์ง ์์๋ค. ์ด์ ๋ฐํด ๋ฑ์ถ์ ์กฐ์ง์ ๊ฐ์ง๋ EQ-8 ์ํธ์ ๊ฒฝ์ฐ์๋ ํ๊ท ๋ฒฝ๊ฐ๋ฉด์ ํฌ๊ธฐ๋
5 ฮผm ๋ด์ธ๋ก ๋ฑ์ถ์ ์ํ์์ ํฌ๊ธฐ๋ณด๋ค ์์ ๊ฒ์ ์ ์ ์๋ค. ์ด์ฒ๋ผ ๋ฐ์๋๋ Ti64 ํฉ๊ธ์ ๋ฑ์ถ์ ์กฐ์ง๊ณผ ํผํฉ์กฐ์ง์ ํ๋ฉด์์ ๊ด์ฐฐ๋๋ ๊ฒฝํฅ์
๊ทธ๋ฆผ 13์ ๊ท ์ด๊ฒฝ๋ก ๊ด์ฐฐ์์๋ ์ ๋ํ๋๊ณ ์๋ค. ํผํฉ์กฐ์ง์ ๊ฒฝ์ฐ ๊ท ์ด์ด ์ฐ์ ๋ ํํ์ ๋ฒ ํ์์ ์๋ฅด๊ณ ์ง๋จ์ผ๋ก์จ ๊ฒฐ์ ๋ฆฝ๊ณ์ ์กด์ฌํ๋ ๋ฒ ํ์์ด๋ ํผํฉ์กฐ์ง์ผ๋ก
์กด์ฌํ๋ ๋ฒ ํ์์ด ๊ท ์ด์ฑ์ฅ์ ์ํฅ์ ๋ฏธ์น์ง ์๋ ๊ฒ์ ์ ์ ์๋ค. ์ฆ, ์ํ์์ ๊ฒฝ๊ณ๋ง์ด ๋ฒฝ๊ฐํ๊ดด๊ฐ ์ผ์ด๋๋ ๊ฒฐ์ ๋ฉด์ ๋ณ๊ฒฝ์ํค๋ ์ญํ ์ ํ๊ธฐ ๋๋ฌธ์
๋ฒฝ๊ฐ๋ฉด์ ํฌ๊ธฐ๊ฐ ๋ฑ์ถ์ ์ํ์๊ณผ ์ ์ฌํ ๊ฒ์ ํ์ธํ ์ ์๋ค. ์ด์ ๋ฐํด EQ-8 ์ํธ์ ๊ฒฝ์ฐ ์
์ ํํ๋ก ์กด์ฌํ๋ ๋ฒ ํ์๋ค์ด ๊ท ์ด์ ์ฑ์ฅ์ ๋ฐฉํดํจ์ผ๋ก์จ
๋ฏธ์ธํ ๋ฒฝ๊ฐ๋ฉด์ ํ์ฑ์ํค๋ ๊ฒ์ ์ ์ ์๋ค. ์ฆ, ๋ฑ์ถ์ ์กฐ์ง์์์ ๋ฒ ํ์์ ์
๊ณ๋ฟ๋ง ์๋๋ผ ์
๋ด์๋ ์ผ๋ถ ์กด์ฌํ๋ฉฐ ์ด๋ฌํ ๋ฒ ํ์์ด ๋ฒฝ๊ฐ๋ฉด ํ์ฑ์
์ํฅ์ ์ค์ผ๋ก์จ ์ ๋ง์ดํฌ๋ก ํฌ๊ธฐ์ ๋ฏธ์ธํ ๋ฒฝ๊ฐ๋ฉด์ด ๊ด์ฐฐ๋์๋ค. ์ด๋ฌํ ๊ท ์ด์ฑ์ฅ ๊ฒฝ๋ก๋ฅผ ๋์์ ์ผ๋ก ๊ทธ๋ฆผ 14์ ๋ํ๋ด์๋ค.
์ผ๋ฐ์ ์ผ๋ก ํผ๋กํ์ค ํ์์ ๋ฒฝ๊ฐํ๊ดด์ ์ํด ํน์ ๊ฒฐ์ ๋ฉด์์ ๊ท ์ด์ด ๋ค๋ฅธ ๋ฏธ์ธ์กฐ์ง์ ํํ(์: ๊ฒฐ์ ๋ฆฝ, ์์ถ๋ฌผ, ์ฌ๋ฆฝ๋ฐด๋ ๋ฑ)์ ์ํฅ์ ๋ฐ์ง ์๊ณ ์์ ๋กญ๊ฒ
์ฑ์ฅํ ์ ์๋ ๊ฑฐ๋ฆฌ๊ฐ ํฐ ๊ธ์์ ํผ๋ก๊ท ์ด์ ํ ์ ํญ์ฑ์ด ๊ทธ๋ ์ง ์์ ๊ธ์์ ๋นํด ์ฐ์ํ ๊ฒ์ผ๋ก ์๋ ค์ ธ ์์ผ๋ฉฐ [24], ์ด๋ ์ ์ ํ ๋ฐ์ ๊ฐ์ด ์ฌ๋ฆฝ๊ฐ์ญ์ฑ์ ์ํด ์ค๋ช
ํ ์ ์๋ค. ํนํ ์ด๋ฌํ ๊ฑฐ๋์ ๊ท ์ด์ ๋จ์์์ ์์ฑ๋ณํ์ญ(plastic zone)๋ณด๋ค ๋ฒฝ๊ฐํ๊ดด์
์์ ์ฑ์ฅ ๊ฑฐ๋ฆฌ๊ฐ ์์ ๋, ์ฆ ฮKth ์์ญ์ ํฌํจํ ๋ฎ์ ฮK ์์ญ์์ ๋๋์ฑ ๊ทธ๋ฌํ ๊ฒ์ผ๋ก ๋ณด๊ณ ๋์ด ์๋ค [24]. ์ด๋ฌํ ๋
ผ๋ฆฌ์ ๊ทผ๊ฑฐ์ ์ํ๋ฉด ์ ํจ ๊ฒฐ์ ๋ฆฝ์ ํฌ๊ธฐ๊ฐ ๊ฐ์ฅ ํฐ BM-16 ์ํธ์ด ๊ฐ์ฅ ์ฐ์ํ ์ ํญ์ฑ์ ๋ณด์ฌ์ผ ํ๊ณ ๋ค์์ผ๋ก BM-8 ์ํธ๊ณผ EQ-8
์ํธ์ ์์ผ๋ก ์์์ด ๋๋ค. ์ค์ ๋ก BM-16 ์ํธ์ด ๋ค๋ฅธ ๋ ์ํธ์ ๋นํด ์๋์ ์ผ๋ก ๋์ ฮKth ๊ฐ์ ๋ณด์ด๋ ๊ฒ๋ ์๋์ ์ผ๋ก ๋์ ์ฌ๋ฆฝ๊ฐ์ญ์ฑ ๋๋ฌธ์ธ ๊ฒ์ผ๋ก ํ๋จ๋๋ค. ์ฌ๋ฆฝ๊ฐ์ญ์ฑ์ ํฐ ์ํฅ์ ๋ฏธ์น๋ ์ ์ธต๊ฒฐํจ์๋์ง์ ๊ฒฝ์ฐ์๋ ์ธ ์ํธ์ด ๋์ผํ ํํ์ฑ๋ถ์
๊ฐ์ง๋ฏ๋ก ๊ทธ ์ฐจ์ด๋ ๊ฑฐ์ ์๋ ๊ฒ์ผ๋ก ์๊ฐ๋๋ค. ๊ทธ๋ฌ๋ ๊ทธ๋ฆผ 12์์ ํ์ธ๋๋ ๋ฐ์ ๊ฐ์ด ์ฝ 2๋ฐฐ์ ์ ํจ๊ฒฐ์ ๋ฆฝ ํฌ๊ธฐ์ ์ฐจ์ด์๋ ๋ถ๊ตฌํ๊ณ ํผ๋ก๊ท ์ด์ ํ ์ ํญ์ฑ์ ํฅ์์ ๋ฏธ๋ฏธํ ๊ฒ์ ์ ์ ์๋ค. ์ด์ ์ ์ฌ๋ฌ ์ฐ๊ตฌ์์๋
10 ฮผm ๋ด์ธ์ ๊ฒฐ์ ๋ฆฝ ํฌ๊ธฐ์ ๋ณํ๋ ํผ๋ก๊ท ์ด์ ํ ๊ฑฐ๋์ ์๋ฏธ ์๋ ์ํฅ์ ๋ํ๋ด์ง ์๊ณ ์๋ค. ๊ฒฐ๋ก ์ ์ผ๋ก ๋ฐ์๋๋ Ti64 ํฉ๊ธ์ ๋ฑ์ถ์ ์กฐ์ง๊ณผ
ํผํฉ์กฐ์ง์์ ๊ด์ฐฐ๋ ์ ์๋ ํผ๋ก๊ท ์ด์ ํ ์ ํญ์ฑ์ ์ฐจ์ด๋ ์ฌ๋ฆฝ๊ฐ์ญ์ฑ์ ๊ฒฐ์ ํ๋ ๊ท ์ด์ ์์ ์ฑ์ฅ ๊ฑฐ๋ฆฌ์ ๊ด๋ จ์ด ์๋ ๊ฒ์ ์ ์ ์๋ค. ์ด๋ฌํ ์์ ์ฑ์ฅ
๊ฑฐ๋ฆฌ๋ ์ํ์์ ํฌ๊ธฐ์ ๊ฐ์ฅ ํฐ ์ฐ๊ด์ฑ์ ๋ํ๋ด์์ผ๋ฉฐ, ๋ฑ์ถ์ ์กฐ์ง์ ๊ฒฝ์ฐ ์
์ ํํ๋ก ๋ถ์ฐ๋์ด ์๋ ๋ฒ ํ์์ด ์ํ์์ ์ ํจ๊ฒฐ์ ๋ฆฝ ํฌ๊ธฐ๋ฅผ ์๊ฒ ํ๋
๊ฒ์ ์ ์ ์์๋ค. ํผํฉ์กฐ์ง์์ ๊ด์ฐฐ๋๋ ๊ฒฐ์ ๋ฆฝ๊ณ๋ฅผ ๋ฐ๋ผ ์กด์ฌํ๋ ๋ฒ ํ์์ด๋ ์นจ์ ํํ์ ๋ฒ ํ์์ ๊ท ์ด ์ฑ์ฅ์ ๋ผ์น๋ ์ํฅ์ด ํฌ์ง ์์ ๊ฒ์ ์
์ ์์๋ค.
4. ๊ฒฐ ๋ก
์ํ์์ ํฌ๊ธฐ๊ฐ 8 ฮผm์ธ ๋ฑ์ถ์ ์กฐ์ง๊ณผ ๊ฐ๊ฐ 8๊ณผ 16 ฮผm์ธ ํผํฉ์กฐ์ง์ ๊ฐ์ง๋ ๋ฐ์๋๋ Ti64 ํฉ๊ธ์ ๊ณ ์ฃผ๊ธฐํผ๋ก์ ํผ๋ก๊ท ์ด์ ํ ๊ฑฐ๋์ ์ฐ๊ตฌํ์ฌ,
๋ค์๊ณผ ๊ฐ์ ๊ฒฐ๋ก ์ ์ป์๋ค.
1. ๋ฐ์๋๋ Ti64 ํฉ๊ธ์ ์ธ์ฅํน์ฑ์ ๋ฏธ์ธ์กฐ์ง์ ์ธ์์ ์ํฅ๋ณด๋ค๋ ์์ฐ์ฌ์ ๋๊ป ์ฆ๊ฐ์ ๋ฐ๋ผ ๊ฐ์ํ๋ ํฌ๊ธฐ ํจ๊ณผ(size effect)๊ฐ ๋ ํฐ
์ํฅ์ ๋ฏธ์น๋ ๊ฒ์ ์ ์ ์์๋ค.
2. ๊ณ ์ฃผ๊ธฐํผ๋ก ์ ํญ์ฑ์ ๊ฒฝ์ฐ๋ ์ธ์ฅ๊ฐ๋์ ๋น๋กํ๋ ์ผ๋ฐ์ ์ธ ๊ฒฝํฅ๊ณผ๋ ๋ฌ๋ฆฌ ๋ฏธ์ธ์กฐ์ง์ ์ธ์์ ์ํฅ์ด ์ปธ์ผ๋ฉฐ, ํผ๋ก๊ท ์ด์์ฑ ๊ธฐ๊ตฌ์ ์ฐจ์ด์ ์ํด ํผํฉ์กฐ์ง
๋ณด๋ค๋ ๋ฑ์ถ์ ์กฐ์ง์ด ์ฐ์ํ ๊ฒ์ ์ ์ ์์๋ค. ์ฆ, ๋ฑ์ถ์ ์กฐ์ง์ ๊ฒฝ์ฐ ์ํ์์ ๋ด๋ถ์์ ์ฌ๋ฆฝ๋ฐด๋(slip band)์ ์์ฑ ๋ฐ ์ด ๊ณณ์์์ ์๋ ฅ์ง์ค์
์ํด ํผ๋ก๊ท ์ด์ด ์์ฑ๋์์ผ๋ฉฐ, ํผํฉ์กฐ์ง์ ๊ฒฝ์ฐ ๊ท ์ด์ ์ฃผ๋ก ์ํ์๊ณผ ๋ฒ ํ์์ ๊ฒฝ๊ณ์์ ์์ฑ๋๋ ๊ฒ์ ๊ด์ฐฐํ์๋ค.
3. ํผ๋ก๊ท ์ด์ ํ ๊ฑฐ๋์ ๊ฒฝ์ฐ BM-8๊ณผ BM-16 ์ํธ๊ณผ ๊ฐ์ด 2๋ฐฐ์ ์ ํจ๊ฒฐ์ ๋ฆฝ ํฌ๊ธฐ์ ์ฐจ์ด ๊ทธ๋ฆฌ๊ณ ๋ฑ์ถ์ ์กฐ์ง๊ณผ ํผํฉ์กฐ์ง์ ์ฐจ์ด์๋ ๋ถ๊ตฌํ๊ณ ์ธ
์ํธ์ ํผ๋ก๊ท ์ด์ ํ ์ ํญ์ฑ์ ์ฐจ์ด๋ ๊ฑฐ์ ๊ด์ฐฐ๋์ง ์์๋ค. ํผ๋ก๊ท ์ด์ ํ ๊ฑฐ๋์ ๊ฐ์ฅ ํฐ ์ํฅ์ ๋ฏธ์น๋ ์ฌ๋ฆฝ๊ฐ์ญ์ฑ์ ์ํ์์ ํฌ๊ธฐ์ ๊ฐ์ฅ ํฐ ์ฐ๊ด์ฑ์
๋ํ๋ด์์ผ๋ฉฐ, ๋ฒ ํ์์ ์กด์ฌ๋ ๊ฑฐ์ ์ํฅ์ ๋ฏธ์น์ง ๋ชปํ์๋ค. ๊ทธ๋ฌ๋ ๋ณธ ์ฐ๊ตฌ์์ ์ฌ์ฉ๋ ์ํธ์์ ๊ด์ฐฐ๋ 8์์ 16 ฮผm ์ฌ์ด์ ์ ํจ๊ฒฐ์ ๋ฆฝ ํฌ๊ธฐ์
๋ณํ๋ ํผ๋ก๊ท ์ด์ ํ ์ ํญ์ฑ์ ๋ฏธ์น๋ ์ํฅ์ด ๊ฑฐ์ ์์์ ์ ์ ์์๋ค.
Acknowledgements
์ด ์ฐ๊ตฌ๋ ์ฐ์
ํต์ ์์๋ถ(10067503, ํญ๊ณต์ฉ Ti-6AI4V ํ์ฌ ๋ฐ ๋ํ ์ด๊ฐ ์ฑํ ๋ถํ ์ ์กฐ ๊ธฐ์ ๊ฐ๋ฐ), ๊ต์ก๊ณผํ ๊ธฐ์ ๋ถ๊ฐ ํ์ํ๋
๊ณตํ ์ฐ๊ตฌ ์ผํฐ ํ๋ก๊ทธ๋จ (2018R1A5A6075959, ERC)์ ์ง์์ ๋ฐ์ ์ํ๋ ์ฐ๊ตฌ๊ฒฐ๊ณผ์
๋๋ค.
REFERENCES
Kwon H. J., Lim K. R., Lee Y. T., Lee D. G., Lee J. H., Kim S. E., Korean J. Met.
Mater,54, 925 (2016)

Soutis C., Mater. Sci. Eng. A,412, 171 (2005)

Lรผtjering G., Williams J. C., Titanium,203-258, Springer (2007)

Yoder G. R., Cooley L. A., Crooker T. W., Metall. Mater. Trans. A,8, 1737 (1977)

Seo W. G., Jeong D. H., Lee D. J., Sung H. K., Kwon Y. N., Kim S. S., Met. Matert.
Int,23, 648 (2017)

Nalla R. K., Ritchie R. O., Boyce B. L., Campbell J. P., Peters J. O., Metall. Mater.
Trans. A-Phys. Metall. Mater. Sci,33, 899 (2002)

Ravichandran K. S., Dwarakadasa E. S., Scripta. Metall. Mater,23, 1685 (1989)

Langoy M. A., Stock S. R., Metall. Mater. Trans. A,32, 2315 (2001)

Wu G. Q., Shi C. L., Sha W., Sha A. X., Jiang H. R., Mater. Design,46, 668 (2012)

Lรผtjering G., Williams J. C., Titanium,431-433, Springer Berlin Heidelberg (2007)

Ivanova S. G., Biederman R. R., Sisson R. D., J. Mater. Eng. Perform,11, 226 (2002)

Peters J. O., Lรผtjering G., Metall. Mater. Trans. A,32, 2805 (2001)

Barriobero-Vila P., Requena G., Buslaps T., Alfeld M., Boesenberg U., J. Alloy. Compd,626,
330 (2014)

Sung H. K., Jeong D. H., Park T. D., Lee J. S., Kim S. S., Met. Matert. Int,22, 755
(2016)

Jeong D. H., Hyun S. M., Sung H. K., Kwon Y. N., Kim S.S., Met. Matert. Int,22, 594
(2016)

Phung N. L., Marti N., Blanche A., Ranc N., Favier V., Chrysochoos A., Saintier N.,
Grรฉgori F., Bacroix B., Thoquenne G., Procedia Eng,66, 615 (2013)

Kim S. H., Kim K. S., Cho K. S., Euh K. J., Rhyim Y. M., Lee K.-A., Korean J. Met.
Mater,53, 96 (2015)

Zuo J. H., Wang Z. G., Han E. H., Mater. Sci. Eng. AStruct. Mater. Prop. Microstruct.
Process,473, 147 (2008)

Sadananda K., K.Vasudevan A., Int. J. Fatigue,27, 1255 (2005)

Goto M., Han S. Z., Lim S. H., Kitamura J., Fujimura T., Ahn J. H., Yamamoto T., Lee
J., Kim S. S., Int. J. Fatigue,87, 15 (2016)

Jeong D. H., Seo W. G., Sung H. K., Kim S. S., Mater. Charact,121, 103 (2016)

Hornbogen E., Gahr K. Z., Acta. Metall. Mater,24, 581 (1976)

Newman J. C., Yamada Y., Int. J. Fatigue,32, 879 (2010)

Jeong D. H., Sung H. K., Park T. D., Lee J. S., Kim S. S., Met. Matert. Int,22, 601
(2016)

Figures and Tables
Fig. 1.
SEM micrographs of the mill-annealed Ti64 specimen with the thickness of (a) 1.3,
(b) 3 and (c) 50 mm, respectively.
Fig. 2.
The schematic illustration of (a) tensile, (b) S-N fatigue and (c) CT specimen, respectively,
used in this study. The "t" represents the thickness of each specimen, which is described
in the "Experimental Procedure".
Fig. 3.
Typical stress-strain curves of BM-8, EQ-8 and BM-16 specimens.
Fig. 4.
SEM fractographs of (a) BM-8, (b) EQ-8 and (c) BM-16 specimens, respectively.
Fig. 5.
SEM micrographic observation of the surface area of the tensile tested (a) BM-8, (b)
EQ-8 and (c) BM-16 specimen, respectively. The arrows indicate the micro-pores formed
during tensile tests.
Fig. 6.
The S-N fatigue curves of BM-8, EQ-8 and BM-16 specimens, uni-axially fatigued at
an R ratio of 0.1.
Fig. 7.
The normalized S-N fatigue curves of BM-8, EQ-8 and BM-16 specimens by tensile strengths,
uni-axially fatigued at an R ratio of 0.1.
Fig. 8.
SEM micrographic observation of the surface area of the fatigue tested (a) BM-8, (b)
EQ-8 and (c) BM-16 specimen, respectively. The arrows indicate the micro-pores formed
during tensile test.
Fig. 9.
SEM fractographs of (a) BM-8, (b) EQ-8 and (c) BM-16 specimen, respectively, uni-axially
fatigue tested at an R ratio of 0.1, and documented in the area of crack initiation.
Fig. 10.
SEM fractographs of (a) BM-8, (b) EQ-8 and (c) BM-16 specimen, respectively, uni-axially
fatigue tested at an R ratio of 0.1, and documented in the area of crack propagation.
Fig. 11.
The da/dN-ฮK curves of BM-8, EQ-8 and BM-16 specimens , FCP tested at an R ratio of
0.1.
Fig. 12.
SEM fractographs of (a) BM-8, (b) EQ-8 and (c) BM-16 specimen, respectively, FCP tested
at an R ratio of 0.1 and documented at ฮKth regime.
Fig. 13.
The crack paths of (a) BM-8, (b) EQ-8 and (c) BM-16 specimen, respectively, FCP tested
at an R ratio of 0.1 and documented at ฮKth regime.
Fig. 14.
Schematic illustration of the fatigue crack growth paths of the mill-annealed Ti64
specimen with (a) equiaxed and (b) bi-modal structure, respectively.
Table 1.
Microstructure properties of the mill-annealed Ti64 alloys used in this study.
|
Specimen designation
|
Microstructure
|
Gauge thickness (mm)
|
Average size of ฮฑ grains (ฮผm)
|
|
BM-8
|
Bi-modal
|
1.3
|
8
|
|
EQ-8
|
Equiaxed
|
3
|
8
|
|
BM-16
|
Bi-modal
|
50
|
16
|
Table 2.
Tensile properties of the mill-annealed Ti64 alloys in this study.
|
Specimen
|
Yield strength (MPa)
|
Tensile strength (MPa)
|
Tensile elongation (%)
|
|
BM-8
|
1,002
|
1,043
|
17.8
|
|
EQ-8
|
953
|
979
|
18.0
|
|
BM-16
|
867
|
920
|
13.1
|